작업요망
회사(조직)명 : 삼성기계
작성자 : 양기성
작성일 : 14-12-09
조회 : 4,150회
전화번호 : 02-2677-8418
핸드폰번호 : 010-5257-5418
이메일 : ksman7@nate.com
본문
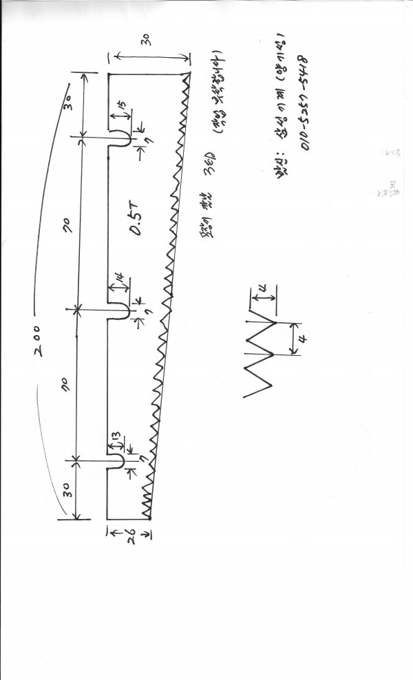
3개 작업 부탁합니다( 신축사옥 이전 늦게나마 축하드림니다)






